专利侵权认定标准——全面覆盖原则
文/张颖 张延悦(北京云亭律师事务所)
引言:在专利侵权认定中,全面覆盖原则是常用的侵权判定方法之一,一般,法院在适用全面覆盖原则判定不侵权之后,才适用其他原则进一步对专利侵权作出认定。全面覆盖原则,最早起源于美国著名的《专利法》,随后被德国、法国、日本国家所借鉴。本篇文章,将以案说法,从案例中分析全面覆盖原则在实务案件中的适用。
一、案情简介
(一)基本事实陈述
张建华曾在沈阳直连高层供暖技术有限公司(以下简称“直连公司”)任职。张建华辞职后,不到一年的时间,张建华申请专利,并创建自己的公司。直连公司控诉张建华所创办的公司销售的产品,落入直连公司产品专利的保护范围,遂发生纠纷。
原告:沈阳直连高层供暖技术有限公司
1997年12月15日,中国人民解放军总参谋部通信工程设计研究院向国家知识产权局申请名称为“高层建筑无水箱直连供暖的排气断流装置”的实用新型专利,授权公告日为1999年9月29日,专利号为97230200.X。
1998年1月14日,中国人民解放军总参谋部通信工程设计研究院与沈阳市奉辽给水设备厂签订协议,约定沈阳市奉辽给水设备厂在东北地区享有 97230200.X实用新型专利及另一发明专利的独占使用权,使用费为10万元,在技术实施过程中,双方均有权改进技术,成果归双方所有等。
1998年12月30日,沈阳市奉辽给水设备厂与沈阳直连高层供暖技术有限公司(以下简称“直连公司”)签订协议书,约定沈阳市奉辽给水设备厂享有的专利独占使用权及相应义务由直连公司享有和承担。
2001年 2月5日中国人民解放军总参谋部通信工程设计研究院与直连公司又签订补充协议,约定在1998年1月14日协议的基础上,直连公司再出资40万元,买断该专利的全国使用权。
被告:张建华
张建华于2000年9月到直连公司工作,担任电工,并领取工资及保密费,也参与断流器、阻旋器的安装、维修。
2001年4月24日张建华向国家知识产权局申请名称为“高层供暖回水缓冲排气装置”的实用新型专利, 2002年3月13日被授予专利权,专利号为012413348.8。
张建华于2002年1月离开直连公司,随即成立了高联公司,并担任该公司的法定代表人。
(二)保护范围
专利侵权的认定,不同于民商事案件。专利侵权判定中,当事人有无故意,不是侵权判定标准之一。专利侵权认定,首先应明确专利的保护范围,依据法律规定,专利的保护范围,以权利要求书中记载的内容为主。本文中,对于专利保护范围的说明,既有权利要求书中所记载内容,也有相应的附图,帮助明确权利要求书中所记载的专利技术特征。
No.1涉案专利1保护范围
1.1 涉案专利1权利要求
涉案专利1,专利名称是高层建筑无水箱直连供暖系统的阻旋器,专利号是99222425.X。权利要求书内容:
1.1.1 一种高层建筑无水箱直连供履系统的阻旋嚣,与高层建筑无水箱直连供暖的排气断流装置相连,其特征是圆柱形上壳体(1) 和倒置的圆台下壳体(5)相接,上壳体上边为设有进水管(3)和连通管(4)的密封盖板(2),构成阻旋器的外护壳;内设有呈“十” 字垂直排列的止旋板(8),止旋板上边托有一圆形阻隔板〈7),均与延伸的进水管呈同一轴心设置;出水管(6)与倒置的圆台下壳体(5)下部同心相连。
1.1.2 按照权利要求1 所述的高层建筑无水箱直连供暖系统的阻旋嚣,其特征是所说的阻隔板(7) 为圆形、方形、多边形;止旋板(8) 还可选用X 形、米形。
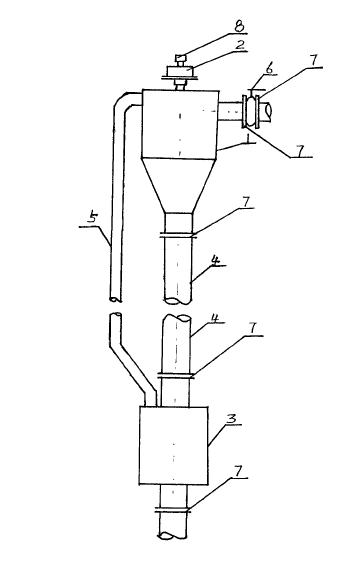
1.2 涉案专利1附图
结合附图,明确权利要求书中记载的专利的技术特征。

No.2涉案专利2保护范围
2.1 涉案专利2权利要求
涉案专利2,专利名称是高层建筑无水箱直连供暖的排气断流装置,专利号是97230200.X。
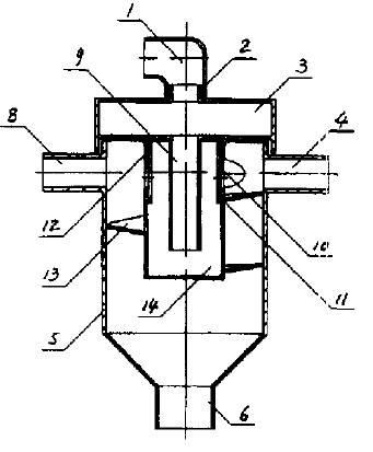
权利要求内容:2.1.1 一种高层建筑无水箱直连供暖的排气断流装置,其特征在于该装置(8)的圆柱形上壳体(17) 和倒置的圆台下壳体(19) 相接,上壳体(17) 上边有方便可拆的呼吸室兼盖板(15) ;内设有环绕蝶纹导向板(25)的杯状水封罐(26),水封罐(26) 内悬置有下呼吸管(21) ,下呼吸管(21)上部与呼吸室兼盖板(15)的呼吸室连通,呼吸室兼盖板(15) 的呼吸室上都接有上呼吸管(14) ,上呼吸管(14) 上部接活动的万向弯头(13),杯状本封罐(26) 的上部内衬有圆桶调节闽(24) ;上壳体(17)上部的左进水管(26) 和右进水管(16) 分别与上壳体(17) 的上部呈切线相接,其出水管(18) 与下壳体(19) 的下部同心相连。
2.1.2 按照权利要求1 所述的高层建筑无水箱直连供暖的排气断精装置,其特征在于调节阀(24) 是上部有翻边,上、下开口中部开有4 个呈“十”字对称分布圆孔的空心圆桶;这4 个圈孔与杯状水封罐(26) 上的圆孔分布方式相同,分布在与进水管(16) 呈正交的位置。
2.1.3 按照权利要求1 所述的高层建筑无水箱直连供暖的排气断流装置,其特征在于杯状水封罐(26) 为上开口,下有底板的密封容器。
2.2 涉案专利2附图
结合附图,明确权利要求书中专利的技术特征。

No.3被诉侵权专利保护范围
3.1 被诉侵权专利权利要求
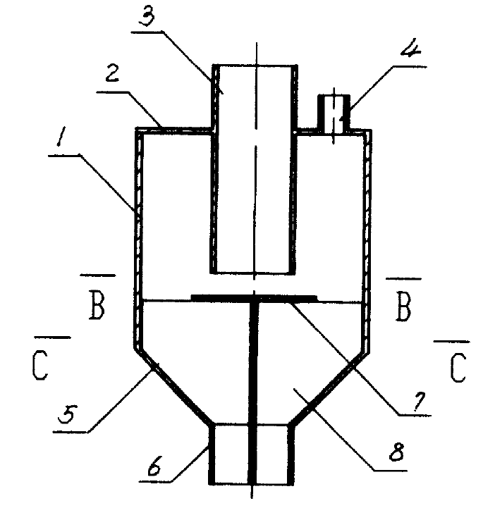
3.1.1 一种高层供暖回水缓冲排气装置,安装于供暖系统最高位的折返点至回水动压线下2 米之间的一段垂直回水管上,其特征在于:它包括援冲器( 1 )、逆止排气阀(2) 及分气器( 3) ,缓冲器( 1 )的进口一侧设有蝶阀( 6 )与水平回水管相连,缓冲器( 1 )的上部设有逆止排气阀( 2) ,底部与分气器( 3 )的上部之间通过法兰( 7 )与垂直安装的回水管( 4 )相联,缓冲器( 1 )的上部与分气器( 3 )内的集气罩1 3 顶部与排气联通管( 5 )连接,分气器( 3 )底部的出口通过法兰( 7 )与回水干管相连。
3.1.2 根据权利要求1 所边的高层供暖回水援冲排气装置,其特征在于:所述的边止排气阀( 2 )主要由上阀体、下阀体及阀片( 9 )与肢垫( 1 2 )构成,阀片( 9 )的下面设有密封胶垫( 1 2) ,螺钉( 1 1 )将密封胶垫( 12 )一端固定在下阀体上,下阀体与阀体通过螺栓( 1 0) 固定。
3.1.3 根据权利要求1 、2 所述的高层供暖回水援冲排气装置,其特枉在于:逆止排气阀( 2 )的排气口还设有防尘盖(8)。
3.2 被诉侵权专利附图

二、法院审判
(一)一审判决
No.1明确专利权存续且受保护状态
直连公司依法享有“高层建筑无水箱直连供暖的排气断流装置”及“高层建筑无水箱直连供暖系统的阻旋器”实用新型专利的独占使用权。该专利保护范围以其权利要求的内容为准,说明书及附图可以用于解释权利要求。
No.2法院通过权利要求书记载内容,总结涉案专利特征
直连供暖技术,即涉案专利技术,是解决高层与低层直连供暖不设水箱的新技术,在原有低区供暖热网定压大小、运行参数、运行方式等不变的情况下,在高楼引入口增设一个增压泵,将低区网的供水加压,送至高层建筑散热器放热后,高压回水进入断流器促进膜流形成,进行减压断流,然后再进入阻旋器“复原”,使高压流体平稳过渡到低压流体,实现高低层建筑直连并网供暖。
No.3涉案专利与被诉侵权专利对比
两者对比,被诉侵权专利技术不如涉案专利技术,故被诉侵权专利是变劣技术,落入涉案专利权保护范围。
3.1 对比点1
法院将被诉侵权产品的逆止排气阀与涉案专利的断流器的呼吸装置进行对比,法院认为,被诉侵权专利技术不如涉案专利技术,故认定被诉侵权技术属于变劣专利,落入涉案专利保护范围。
3.1.1 涉案专利断流器呼吸装置
涉案专利的断流器内设有较为复杂的呼吸装置,在系统运行不平稳时,通过呼吸装置进行有规律的吸气和呼气,以保持系统内正常的大气压,并采用水封的方式实现系统密封,减轻系统氧蚀。
3.1.2 被诉侵权产品的逆止排气阀技术
被诉侵权产品的缓冲器内设有逆止排气阀,其采用的是重力封,目的也是要实观系统密闭,减轻系统氧蚀。但由于逆止排气阀只能呼气,不能吸气,在系统运行不平稳、尤其是缓冲器内压力小于大气压时,外部空气无法进入,在缓冲器内会形成真空,不但不能形成膜流运动,系统也将无法运行。
3.1.3 对比结果
被诉侵权产品的逆止排气阀与涉案专利断流器的呼吸装置相比,是变劣的技术特征,暖通领域普通技术人员通过阅读专利说明书无需经过创造性劳动就能够使该专利技术变形。
3.2 对比点2
被诉侵权产品的缓冲器没有环绕螺纹导向板,不如涉案专利技术优越,是变劣技术,落入涉案专利保护范围。
3.2.1 涉案专利的断流器
涉案专利的断流器内还设有环绕螺纹导向板,其主要作用为使进入断流器的水流强化成膜流状态,实现气水分离。
3.2.2 被诉侵权专利缓冲器
被诉侵权产品的缓冲器也是利用膜流运动原理,当带有一定速度和压力的水流从切线角度进入缓冲器后,水流受到缓冲器桶壁的阻挡,改变方向,沿桶壁形成离心旋转运动,且被告认为水流在重力作用下,下降到缓冲器锥体和下连回水管部分后,会更加加速离心旋转,水流靠与桶壁摩擦完成缓冲减速过程,同时部分完成气水分离。
3.2.3 对比结果
由于被诉侵权产品的缓冲器没有环绕螺纹导向板,不能强化膜流运动的形成,减压、减速的效果降低,被诉侵权产品的缓冲器的性能和效果均不如涉案专利断流器专利技术优越,也是变劣的技术特征。
3.3 对比点3
被诉侵权产品分气器内没有阻隔板,但有集气罩,当水流进入分气器后,首先会碰撞到集气罩的顶部,受集气罩顶部的阻挡,水流势能自然消减。与涉案专利的阻旋器专利中阻隔板相比,都是以设置挡板的方式,通过阻挡水流,达到消减势能、降低流速的作用,两者以基本相同的手段,实现基本相同的功能,达到基本相同的效果,该领域的普通技术人员通过阅读专利说明书无需经过创造性劳动就能联想到,两者属于等同的技术特征。
3.4 对比点4
侵权产品的分气器没有止旋板,被告认为靠水流与回水管管壁的摩擦即可达到阻旋作用,但仅靠摩擦阻力阻旋的效果不如涉案专利的阻旋器专利中止旋板的阻旋效果好。
3.5 整体涉案专利与侵权产品对比结论,侵权产品落入涉案专利保护范围,构成侵权
综上,高联公司分气器中的集气罩属于与直连公司专利等同的技术特征,高联公司缓冲器中的逆止排气阀及其缺少环绕螺纹导向板和止旋板,使高联公司产品在性能、效果上均不如直连公司享有独占使用权的专利技术优越,是变劣的技术方案,由于专利技术已被社会公知,张建华又有在直连公司工作的经历,根据公知技术很容易作出对其中必要技术特征的省略,正是由于其省略了该必要技术特征,导致高联公司整个技术方案的性能、效果变劣。根据专利侵权判定的等同原则,高联公司制造、销售、许诺销售的缓冲器、分气器落人直连公司享有独占使用权的专利权保护范围。
(二)二审法院判决
二审法院是维持一审判决,也是运用改劣实施论,认为被诉侵权产品不如涉案专利,故被诉侵权产品是一种变劣产品,落入涉案专利保护范围。二审法院对比涉案专利与被诉侵权产品时,依据不同的组件部位进行比较,比较的点相对于一审法院而言,更加细致,但是依然没有没有找到正确的比较依据,将全面覆盖原则束之高阁,采用改劣实施论判定侵权。
No.1关于呼吸系统比较
No.2关于螺纹导向板系统
鉴定认为,被控侵权产品与被上诉人专利相比较,不具有“杯状水封罐”、“环绕螺纹导向板”、“下呼吸管”、“圆筒调节阀”等内部结构,缺少相对应的技术特征。但鉴定专家同时也认为,由于被控侵权产品缺少上述技术特征,所以没有产生使流体强化膜流状态和隔声等功能和效果。
二审法院认为,当回水管沿切线方向流人专利排气断流装置,虽然自然会形成膜流状态下落,但是加上螺旋导向板后可以进一步强化膜流状态。二审法院认为,被控侵权产品缺少这一必要技术特征,并没有达到专利法意义上的改进和改良,因此,一审认定被控侵权产品改劣是正确的。
No.3关于分气器比较
鉴定认为,分气器产品与专利都涉及一种高层建筑无水箱供暖系统的气水分离技术。
(1) 分气器产品圆柱形上壳体和倒置的圆台下壳体相接的技术特征与专利阻旋器技术特征相同。(2)分气器产品的上壳体上边为设有进水管和连通管的密封盖板,构成外壳的技术特征与专利阻旋器的技术特征相同。(3)分气器产品的技术方案与专利技术相比较,缺少“内设有成‘十’字直排列的止旋板”。(4)分气器产品中间设置一垂直集气罩技术特征与专利的止旋板上边托有一圆形阻隔板技术特征等同。(5)分气器产品出水管与倒置的圆台下壳体下部同心相连,与专利出水管与倒置的圆台下壳体下部同心相连的技术特征相同。
二审法院认为,鉴定结论(4)依据不足,理由是,被控侵权产品虽然没有止旋板,但是它所对应的部位是集气罩下部的圆筒。从另一角度来看也能得出同样的结论,正如鉴定结论(5)所述专利止旋板上边托有一圆形阻隔板与分气器中间设有一垂直集气罩,两者特征都以设置挡板的方式,通过阻挡水流达到降低水流速度的目的,两者特征等同。由此可见,专利的止旋板上边托有一圆形阻隔板虽为两个技术特征,但分气器的集气罩亦应分为两个技术特征,后者很明显是一种改劣的方案。
(三)最高院再审判决
本院再审认为,人民法院在判断被控侵权技术方案是否落入专利权保护范围时,应当将被诉侵权技术方案的技术特征与专利权利要求记载的全部技术特征进行对比。如果被控侵权技术方案缺少权利要求记载的一个或者一个以上的技术特征,或者被控侵权技术方案有一个或者一个以上的技术特征与权利要求记载的相应技术特征不相同也不等同,人民法院应当认定被控侵权技术方案没有落入专利权的保护范围。被控侵权技术方案是否因缺少某专利技术特征而导致技术功能或效果的变劣,不应考虑。
本案中,被控侵权技术方案缺少“高层建筑无水箱直连供暖的排气断流装置”专利中的“内设有环绕螺纹导向板的杯状水封罐”技术特征,也缺少“高层建筑无水箱直连供暖系统的阻旋器”专利中的“内设有成‘十’字直排列的止旋板”技术特征。此外,被控侵权技术为本案中的“上壳体上部设有逆止排气阀”与“高层建筑无水箱直连供暖的排气断流装置”专利中的“—亡壳体上边有方便可拆的呼吸室兼盖板”相比,在手段、功能、效果上不属于《最高人民法院关于审理专利纠纷案件适用法律问题的若干规定》第十七条规定的“基本相同”,不构成等同特征。因此,被控侵权技术方案没有落人专利权的保护范围。
三、评 析
本案中,最高院明确,在侵权判定中,应当适用全面覆盖原则,否定一二审判决中的改劣实施论原则。通过上述案例,引出本文介绍的全面覆盖原则。
(一)全面覆盖原则概念
在《专利法》及相关法律中,并没有明确的全面覆盖原则的定义。依据2010年《最高人民法院关于审理专利纠纷案件适用法律问题的若干规定》第十七条规定(1),也仅规定专利的保护范围,并无具体全面覆盖原则的定义。从全面覆盖原则的起源方面,全面覆盖原则,起源于美国《专利法》第112条规定,其最早被称为字面侵权原则。美国的字面侵权原则的定义是指,被控侵权物将专利要求中记载的技术方案的必要技术特征全部再现,被控侵权物与专利独立权利要求记载的全部必要技术特征一一对应,并且相同。结合我国目前的法律规定以及该原则的历史起源,可以对全面覆盖原则的定义,作出如下概括。在专利侵权判定中,将被控侵权产品的技术特征与涉案专利的技术特征一一进行比较,如果被控侵权产品的技术特征包括了涉案专利的全部必要技术特征,就可以确定侵权。
(二)全面覆盖原则的适用
上述案例,已经清楚的阐明,全面覆盖原则在司法实践中是如何适用的。首先,法院要解释专利权利要求,确定权利保护范围。因为专利侵权的本质是,判断侵权产品是否落入涉案专利的保护范围,落入保护范围则侵权,反之,不侵权。所以,确定专利保护范围,是第一步。依据上述法律规定,以及本案最高院的判决,已经明确,涉案专利保护范围,是其在权利要求书中记载的全部技术特征。第二步,将被控侵权产品或者方法的技术特征与权利要求记载的技术方案的技术特征进行比较。第三步,依据比较结果,认定侵权成立与否。
No.1适用情形
第一种情形,被控侵权产品技术特征与涉案专利技术特征相比,从字面上看,完全相同,被诉侵权专利的权利要求,是对涉案专利权利要求的一种抄袭。此种情形,无疑是侵权,但是现实情况中属于此类情形的比较少。
第二种情形,涉案专利权利要求中采用的是上位概念,而被诉侵权产品采用的是下位具体概念。尽管字面无法完全相同,但上位概念包含下位概念,故也是一种字面侵权的情形。
第三种情形,被诉侵权产品的技术特征,多于涉案专利技术特征,即被诉侵权产品的技术特征包含涉案专利技术特征时,构成侵权。当然,如果涉案被诉侵权专利的技术特征少于涉案专利的技术特征则不侵权。正如本案中,控侵权技术方案缺少“高层建筑无水箱直连供暖的排气断流装置”专利中的“内设有环绕螺纹导向板的杯状水封罐”技术特征,也缺少“高层建筑无水箱直连供暖系统的阻旋器”专利中的“内设有成‘十’字直排列的止旋板”技术特征,所以被控侵权产品不构成侵权。
四、启 示
本案首先明确专利保护范围界定。在专利侵权判定中,最基础的问题是,确定专利的保护范围。本案中,最高院明确专利保护范围,应当是权利要求中记载的全部技术特征,不是部分,不是整体总结的技术特征。在本案中,一审、二审都没有将权利要求的中记载的技术特征一一分解,没有明确权利要求中具体的技术特征,在无法明确专利保护范围,侵权判定也无从谈起。本案中,最高院明确,在专利技术特征比较时,当被诉专利的技术特征少于涉案专利的技术特征时,不构成侵权。这一点,明确全面覆盖原则,在侵权判定中的适用问题。只有当被诉侵权产品包含涉案专利的全部技术特征时,才符合全面覆盖原则的认定标准,构成侵权。这一点,也是对于改劣实施论的否定,不能因为被诉侵权产品的性能、功能、效果不如涉案专利,就断定是一种改劣产品,认定被诉侵权专利与涉案专利相同或相似。也不能因为,被诉侵权专利与涉案专利在非必要技术特征上不相同或不相似,但在必要技术特征中,具有相同或相似性,就判定被诉侵权产品侵权。而是应当依据全部的技术特征判断,不能自主区分必要与非必要技术特征。
注释:
(1) 《最高人民法院关于审理专利纠纷案件适用法律问题的若干规定》第十七条规定:专利法第五十九条第一款所称的“发明或者实用新型专利权的保护范围以其权利要求的内容为准,说明书及附图可以用于解释权利要求的内容”,是指专利权的保护范围应当以权利要求记载的全部技术特征所确定的范围为准,也包括与该技术特征相等同的特征所确定的范围。
律师简介
张颖 律师
北京云亭律师事务所合伙人
手机:13911364947
座机:010-59449968
邮箱:zhangying@yuntinglaw.com

张颖是北京云亭律师事务所创始合伙人,毕业于北京大学,法律硕士专业(知识产权方向)。
执业十余年,张颖律师熟悉中国的知识产权法律制度、司法环境和商业环境,对知识产权理论、实务均有深入的研究,具备丰富的处理知识产权法律实务的经验和能力,在业界享有良好声誉。
张颖律师的专业能力主要体现在对商标侵权、商标行政诉讼极为丰富的实务经验上。同时,张颖律师精于专利撰写、专利检索、专利无效分析、专利的PCT申请及国外申请,以及专利复审及无效行政复审程序和诉讼程序。
此外,张颖律师对著作权法、娱乐法有深度研究,尤其对影视剧的创作、摄制、发行、放映过程中所涉及的影视投融资、演艺经纪、影视作品版权、影视合同等领域具有丰富的实务经验。
返回